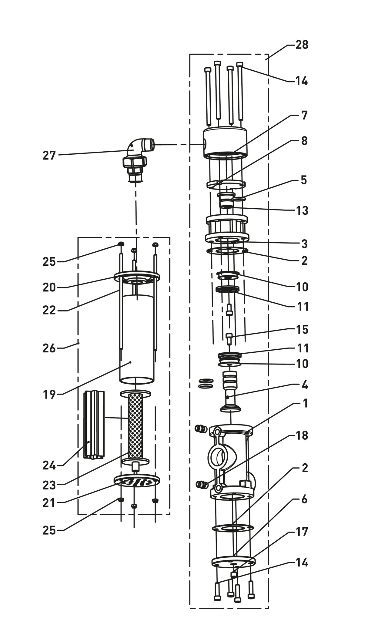
Ersatzteile für Contracor RCV Fernsteuerung
Versand
Geschäftlich bestellen?
Geschäftlich bestellen?
Bei uns können Sie ganz einfach geschäftlich bestellen. Wählen Sie auf der Warenkorbseite "geschäftlich" und profitieren Sie automatisch von den folgenden Vorteilen:
- Schnelle Lieferung: Schneller und zuverlässiger Versand mit Sendungsverfolgung.
- Persönlicher Service: Zugang zu unserem Geschäftskundenservice.
- Mengenrabatt: Rabatte bei Großbestellungen werden automatisch in Ihrem Warenkorb angewendet.
- Rechnung: Klare und detaillierte Mehrwertsteuerrechnung, optional mit Ihrer eigenen Referenznummer.
- Mehrwertsteuerumkehrung: Haben Sie eine Mehrwertsteuernummer? Geben Sie Ihre Mehrwertsteuernummer auf der Warenkorbseite ein. Unsere Systeme überprüfen die Mehrwertsteuernummer und wenden bei der Bezahlung automatisch 0 % Mehrwertsteuer an, wenn die Nummer gültig ist.
Fragen zu geschäftlichen Bestellungen? Kontaktieren Sie uns.
Zahlungsarten
Sichere Zahlung einschließlich

