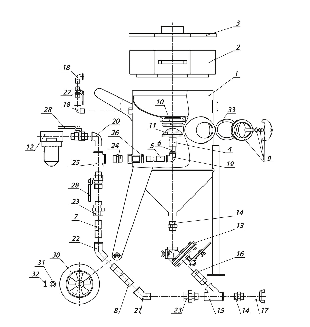
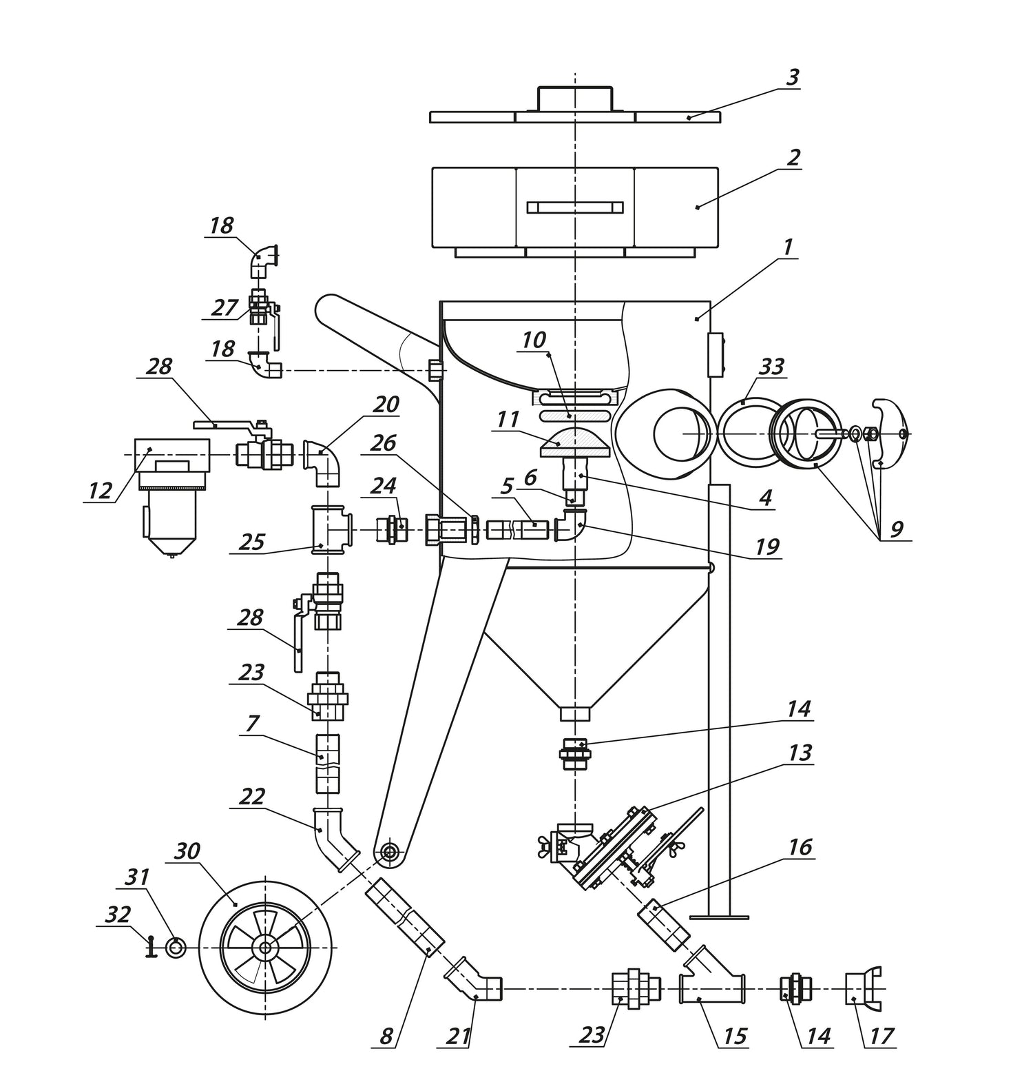
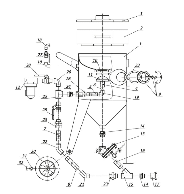
Spare parts for Contracor BlastRazor Z-100 / Z-200
Shipping
Business orders?
Business orders?
You can easily place business orders at Reemster. On the cart page, select "business" and automatically enjoy the following benefits:
- Fast delivery: Quick and reliable shipping with track & trace.
- Personal service: Access to our business customer service.
- Volume discount: Discounts on bulk orders are automatically applied to your cart.
- Invoice: Clear and itemized VAT invoice, optionally with your own reference number.
- VAT reverse charge: Do you have a VAT number? Enter your VAT number on the cart page. Our systems will verify the VAT number and apply 0% VAT at checkout if the number is valid.
Questions about business orders? Contact us.
Payment methods
Secure payment including

